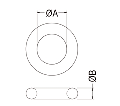
| 型号 | A | B | 包装 |
| OR-1. 7 | 1.7 | 0.6 | 2000 |
| OR-2 | 2 | 1 | |
| OR-2. 7 | 2.75 | 0.6 | |
| OR-2 8 | 2.8 | 0.5 | |
| OR-2.9 | 2.9 | 1.78 | |
| OR-3 6 | 3.6 | 1.78 | |
| OR-4 | 4 | 2 | |
| OR-4 6 | 4.6 | 1.78 | |
| OR-5 | 5 | 1 | |
| OR5.5-11.8 | 5.5 | 3.15 | |
| OR-5.8 | 5.8 | 1.9 | |
| OR-6 | 6.02 | 2.6 | 2000 |
| OR6.07-1.63 | 6.07 | 1.63 | |
| OR7-2 | 7 | 2 | |
| OR-7 6 | 7.65 | 1.78 | |
| OR-7.9 | 7.9 | 1 | |
| OR-11 | 11 | 2 | |
| OR-88 | 20 | 1 | |
| OR-21 3 | 21.3 | 3 | |
| OR-25.2 | 25.2 | 3.5 | |
| OR-84.4 | 84.4 | 3.1 | 500 |
联系人:张经理
手机:13776084214
座机:0512-66892041-803
联系人:吴经理
手机:18360233109
座机:0512-66892041-802
公司总机:0512-66892041
传 真:0512-66890341
公司邮箱:zhanghaiyang@sz-jite.com
公司网址:www.sz-jite.com
公司地址:江苏省苏州市吴中区木渎镇 木东路317号
扫码手机浏览
扫一扫,关注我们
Copyright © 2022 苏州集特电工有限公司 备案号:苏ICP备2022045262号
技术支持:仕德伟科技